SINOMACH CHANGLIN 717H motor grader parts catalog 15
40 操纵系统 Control System
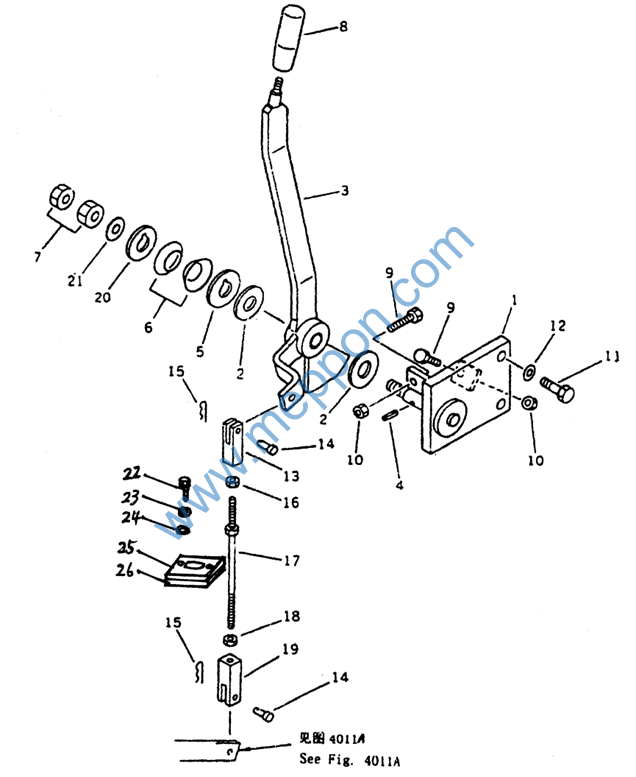
FIG.4001A 油门操纵 Fuel Control Lever

FIG.4001A 油门操纵 Fuel Control Lever
|
序号 No. |
零 件 代 号 Part No. |
版本 Ver. |
名 称 Part Name |
数量 Q’ty |
适用车号 Suit Num. |
选装 Cho. |
|
|
1 |
190C.1.2.3 |
1 |
支架 |
Bracket |
1 |
00005- |
|
|
2 |
190C.1.2-4 |
1 |
垫 |
Facing |
2 |
00005- |
|
|
3 |
190C.1.2.5 |
1 |
连杆 |
Lever |
1 |
00005- |
|
|
4 |
B-G008790-00006 |
1 |
销4×16 |
Pin, Spring |
1 |
00005- |
|
|
5 |
190C.1.2-2 |
1 |
套 |
Disc |
1 |
00005- |
|
|
6 |
W-10-00001 |
1 |
蝶形弹簧D=34,d=16.3,H=2.55 |
Spring |
2 |
00005- |
|
|
7 |
B-G061700-00007 |
1 |
螺母M12ZnD |
Nut |
2 |
00005- |
|
|
8 |
190C.1.2.4 |
1 |
手柄 |
Knob |
1 |
00005- |
|
|
9 |
190C.1.2-10 |
1 |
螺栓 |
Bolt |
2 |
00005- |
|
|
10 |
B-G061700-00036 |
1 |
螺母M8ZnD |
Nut |
2 |
00005- |
|
|
11 |
B-G057830-00028 |
1 |
螺栓M12×20ZnD |
Bolt |
2 |
00005- |
|
|
12 |
B-Q020490-00003 |
1 |
垫圈12 |
Washer |
2 |
00005- |
|
|
13 |
190C.1.2-11 |
1 |
横夹 |
Yoke |
1 |
00005- |
|
|
14 |
B-G008820-00040 |
1 |
销轴B8×22ZnD |
Pin |
2 |
00005- |
|
|
15 |
190C.15A-17 |
1 |
弹性开口销 |
Pin, Snap |
2 |
00005- |
|
|
16 |
B-G061720-00017 |
1 |
螺母M8ZnD |
Nut |
1 |
00005- |
|
|
17 |
190C.1.2.11 |
1 |
拉杆 |
Rod |
1 |
00005- |
|
|
18 |
B-G061700-00037 |
1 |
螺母M8左ZnD |
Nut, L.H. Thread |
1 |
00005- |
|
|
19 |
190C.15A-8 |
1 |
横夹(左螺纹) |
Yoke, L.H. Thread |
1 |
00005- |
|
|
20 |
190C.1.2-3 |
1 |
套 |
Disc |
1 |
00005- |
|
|
21 |
B-G008480-00002 |
1 |
垫圈12ZnD |
Washer |
1 |
00005- |
|
|
22 |
B-G057830-00139 |
1 |
螺栓M8×20ZnD |
Bolt |
2 |
00005- |
|
|
23 |
B-G000930-00017 |
1 |
垫圈8 |
Washer |
2 |
00005- |
|
|
24 |
B-Q020490-00023 |
1 |
垫圈8 |
Washer |
2 |
00005- |
|
|
25 |
190C.1.2-5 |
1 |
盖 |
Cover |
1 |
00005- |
|
|
26 |
190C.1.2-6 |
1 |
座 |
Seat |
1 |
00005- |
|
FIG.4011A 油门踏板(6BTA5.9) Accelerator Pedal(6BTA5.9)

FIG.4011A 油门踏板(6BTA5.9) Accelerator Pedal(6BTA5.9)
|
序号 No. |
零 件 代 号 Part No. |
版本 Ver. |
名 称 Part Name |
数量 Q’ty |
适用车号 Suit Num. |
选装 Cho. |
|
|
1 |
190C.1.2.6 |
1 |
连杆 |
Lever |
1 |
00005- |
|
|
2 |
190C.1.2.7 |
1 |
踏板 |
Pedal |
1 |
00005- |
|
|
3 |
B-G057830-00034 |
1 |
螺栓M12×30ZnD |
Bolt |
1 |
00005- |
|
|
4 |
B-Q020490-00003 |
1 |
垫圈12 |
Washer |
1 |
00005- |
|
|
5 |
W-12-00024 |
1 |
轴套|SF-1 1615 |
Bushing |
2 |
00005- |
|
|
6 |
B-G008480-00006 |
1 |
垫圈16ZnD |
Washer |
1 |
00005- |
|
|
7 |
B-G00894A-00007 |
1 |
挡圈16 |
Ring, Snap |
2 |
00005- |
|
|
8 |
B-G061700-00007 |
1 |
螺母M12ZnD |
Nut |
1 |
00005- |
|
|
9 |
190C.1.2.12 |
1 |
拉杆 |
Rod |
1 |
00005- |
|
|
10 |
190C.1.2-11 |
1 |
横夹 |
Yoke |
1 |
00005- |
|
|
11 |
B-G061700-00036 |
1 |
螺母M8ZnD |
Nut |
1 |
00005- |
|
|
12 |
190C.15A-8 |
1 |
横夹(左螺母) |
Yoke, L.H. Thread |
1 |
00005- |
|
|
13 |
B-G061700-00037 |
1 |
螺母M8左ZnD |
Nut, L.H. Thread |
1 |
00005- |
|
|
14 |
B-G008820-00040 |
1 |
销轴B8×22ZnD |
Pin |
3 |
00005- |
|
|
15 |
190C.15A-17 |
1 |
弹性开口销 |
Pin, Snap |
3 |
00005- |
|
|
16 |
190C.1.2.8 |
1 |
连杆 |
Lever |
1 |
00005- |
|
|
17 |
B-G057830-00047 |
1 |
螺栓M12×55ZnD |
Bolt |
1 |
00005- |
|
|
18 |
190C.1.2.10 |
1 |
连杆 |
Shaft |
1 |
00005- |
|
|
19 |
W-12-00025 |
1 |
轴套|SF-1 1620 |
Bushing |
4 |
00005- |
|
|
20 |
B-G00894A-00007 |
1 |
挡圈16 |
Ring, Snap |
2 |
00005- |
|
|
21 |
190C.1.2.9 |
1 |
连杆 |
Lever |
1 |
00005- |
|
|
22 |
B-G057830-00034 |
1 |
螺栓M12×30ZnD |
Bolt |
1 |
00005- |
|
|
23 |
B-Q020490-00003 |
1 |
垫圈12 |
Washer |
1 |
00005- |
|
|
24 |
B-G000930-00017 |
1 |
垫圈8 |
Washer |
2 |
00005- |
|
|
25 |
165H.1.2.1 |
1 |
软轴 |
Cable |
1 |
00005- |
|
|
26 |
190C.1.2-7 |
1 |
横夹 |
Yoke |
1 |
00005- |
|
|
27 |
B-G061700-00034 |
1 |
螺母M6ZnD |
Nut |
4 |
00005- |
|
|
28 |
B-G008820-00040 |
1 |
销轴B8×22ZnD |
Pin |
3 |
00005- |
|
|
29 |
190C.15A-17 |
1 |
弹性开口销 |
Pin, Snap |
3 |
00005- |
|
|
28 |
Z30.1A.1 |
1 |
球铰接头 |
Joint |
1 |
00005- |
|
|
31 |
190C.1.2-9 |
1 |
垫圈 |
Washer |
1 |
||
|
32 |
190C.1.2-8 |
1 |
盖 |
Cover |
1 |
00005- |
|
|
33 |
B-G008480-00009 |
1 |
垫圈6ZnD |
Washer |
1 |
00005- |
|
|
34 |
B-G020490-00023 |
1 |
垫圈 8 |
Washer |
2 |
00005- |
|
|
35 |
190C.1.2-1 |
1 |
弹簧 |
Spring |
1 |
00005- |
|
|
36 |
1 |
垫圈 |
Washer |
2 |
00005- |
||
|
37 |
1 |
螺栓 |
Bolt |
2 |
00005- |
||
|
38 |
1 |
软轴支架 |
Bracket |
1 |
00005- |
||
|
39 |
B-Q020030-00002 |
1 |
出线圈16 |
Grommet |
1 |
00005- |
|
|
40 |
B-G057830-00139 |
1 |
螺栓M8×20ZnD |
Bolt |
2 |
00005- |
|
FIG.4011B 油门踏板(SC8D) Accelerator Pedal(SC8D)

