SINOMACH CHANGLIN 722H motor grader parts catalog 23
FIG.5001 前车架
FRONT FRAME
|
序号 No. |
零 Part No. |
版本 Ver. |
名 Part Name |
数量 Q’ty |
适用车号 Suit Num. |
选装 Cho |
|
|
31 |
B-G057830-00003 |
1 |
螺栓M10×20 ZnD |
Bolt |
6 |
00005- |
|
|
32 |
B-Q020490-00001 |
1 |
垫圈10 |
Washer |
8 |
00005- |
|
|
34 |
190C.12E-3 |
1 |
侧盖板 |
Cover |
1 |
00005- |
|
|
35 |
190C.12E-3R |
1 |
侧盖板 |
Cover |
1 |
00005- |
|
|
37 |
B-G057830-00003 |
1 |
螺栓M10×20 ZnD |
Bolt |
8 |
00005- |
|
|
38 |
B-Q020490-00001 |
1 |
垫圈10 |
Washer |
8 |
00005- |
|
|
39 |
190C.12E.4 |
1 |
销轴 |
Pin |
1 |
00005- |
|
|
40 |
220H.12.2 |
1 |
右前大灯支架 |
Headlight Bracket(R) |
1 |
00005- |
|
|
41 |
B-G057830-00006 |
1 |
螺栓M10x25 ZnD |
Bolt |
8 |
00005- |
|
|
42 |
B-G000930-00001 |
1 |
垫圈10 |
Washer |
8 |
00005- |
|
|
43 |
220H.12.3 |
1 |
左前大灯支架 |
Headlight Bracket(L) |
1 |
00005- |
|
FIG.5003 前车架B
FRONT FRAME B

FIG.5003 前车架B
FRONT FRAME B
|
序号 No. |
零 Part No. |
版本 Ver. |
名 Part Name |
数量 Q’ty |
适用车号 Suit Num. |
选装 Cho |
|
|
1 |
W-12-00289 |
1 |
球铁壳前配重 |
Weight |
1 |
00005- |
|
|
2 |
B-G061700-00023 |
1 |
螺母M24 ZnD |
Nut |
4 |
00005- |
|
|
3 |
B-Q020490-00015 |
1 |
垫圈24 |
Washer |
4 |
00005- |
|
|
4 |
B-Q020490-00015 |
1 |
垫圈24 |
Washer |
4 |
00005- |
|
|
5 |
B-G057820-00135 |
1 |
螺栓M24×150-10.9 ZnD |
Bolt |
4 |
00005- |
|
|
6 |
190C.12E-6L |
1 |
前盖板 |
Cover |
1 |
00005- |
|
|
7 |
B-Q020490-00001 |
1 |
垫圈10 |
Washer |
4 |
00005- |
|
|
8 |
B-G057830-00003 |
1 |
螺栓M10×20 ZnD |
Bolt |
4 |
00005- |
|
|
9 |
190C.12E-7 |
1 |
阀罩 |
Cover |
1 |
00005- |
|
|
10 |
B-Q020490-00001 |
1 |
垫圈10 |
Washer |
4 |
00005- |
|
|
11 |
B-G057830-00003 |
1 |
螺栓M10×20 ZnD |
Bolt |
4 |
00005- |
|
|
12 |
B-G057830-00001 |
1 |
螺栓M10×16 ZnD |
Bolt |
2 |
00005- |
|
|
13 |
B-Q020490-00001 |
1 |
垫圈10 |
Washer |
2 |
00005- |
|
|
14 |
190C.12E-1L |
1 |
后侧板 |
Cover |
1 |
00005- |
|
|
15 |
220H.12-1 |
1 |
盖板 |
Cover |
1 |
00005- |
|
|
16 |
190C.12E-1 |
1 |
后侧板 |
Cover |
1 |
00005- |
|
|
17 |
190C.12E-7R |
1 |
阀罩 |
Cover |
1 |
00005- |
|
|
18 |
190C.12E-6 |
1 |
前盖板 |
Cover |
1 |
00005- |
|
|
19 |
B-G057830-00006 |
1 |
螺栓M10×25 ZnD |
Bolt |
2 |
00005- |
|
|
20 |
B-Q020490-00001 |
1 |
垫圈10 |
Washer |
2 |
00005- |
|
|
21 |
B-G057830-00003 |
1 |
螺栓M10×20 ZnD |
Bolt |
14 |
00005- |
|
|
22 |
B-Q020490-00001 |
1 |
垫圈10 |
Washer |
14 |
00005- |
|
|
23 |
190C.12E-2 |
1 |
前盖板 |
Cover |
1 |
00005- |
|
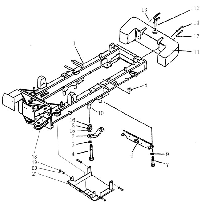
FIG.5005 后车架
REAR FRAME

FIG.5005 后车架
REAR FRAME
|
序号 No. |
零 Part No. |
版本 Ver. |
名 Part Name |
数量 Q’ty |
适用车号 Suit Num. |
选装 Cho |
|
|
1 |
722H.12.1 |
1 |
后车架总图 |
Rear Frame Assy |
1 |
00005- |
|
|
2 |
190C.12E-11 |
1 |
盖板 |
Cap |
2 |
00005- |
|
|
3 |
190C.12E-13 |
1 |
垫片 |
Shim |
8 |
00005- |
|
|
4 |
B-G057850-00047 |
1 |
螺栓M30×3×180 ZnD |
Bolt |
4 |
00005- |
|
|
5 |
B-Q020490-00019 |
1 |
垫圈30 |
Washer |
4 |
00005- |
|
|
6 |
190C.12E.3 |
1 |
撑板 |
Hanger |
1 |
00005- |
|
|
7 |
B-G057820-00089 |
1 |
螺栓M16×75 ZnD |
Bolt |
4 |
00005- |
|
|
8 |
B-G061700-00014 |
1 |
螺母M16 ZnD |
Nut |
4 |
00005- |
|
|
9 |
B-Q020490-00007 |
1 |
垫圈16 |
Washer |
4 |
00005- |
|
|
10 |
190C.12E-10 |
1 |
支座 |
Seat |
4 |
00005- |
|
|
11 |
W-12-00290 |
1 |
球铁壳后配重 |
Weight |
1 |
00005- |
|
|
12 |
Z50B.12-12 |
1 |
销 |
Pin |
1 |
00005- |
|
|
13 |
Z50B.12.17 |
1 |
保险销 |
Safety Pin |
1 |
00005- |
|
|
14 |
B-G057820-00129 |
1 |
螺栓M24×120-10.9 ZnD |
Bolt |
4 |
00005- |
|
|
15 |
190C.12E-14 |
1 |
垫片 |
Shim |
4 |
00005- |
|
|
16 |
190C.12E-12 |
1 |
垫片 |
Shim |
4 |
00005- |
|
|
17 |
B-Q020490-00015 |
1 |
垫圈24 |
Washer |
4 |
00005- |
|
|
18 |
722.12-1 |
1 |
护套 |
Guard Ring |
1 |
00005- |
|
|
19 |
B-G057830-00100 |
1 |
螺栓M20x55ZnD |
Bolt |
4 |
00005- |
|
|
20 |
B-Q020490-00011 |
1 |
垫圈20 |
Washer |
4 |
00005- |
|
|
21 |
220H.12E.2 |
1 |
变速箱保护架 |
Cap |
1 |
00005- |
|
FIG.5101 车身及附件
Vehicle Body and Accessory
