XCMG XE80 HYDRAULIC EXCAVATOR SPARE PARTS CATALOGUE 28

310401557 破碎锤管路 Breaker Piping


310401557 破碎锤管路 Breaker Piping
|
序号 ITEM |
零件代号 Part No |
零件名 |
PART NAME |
数量 Q’T Y |
服务代码 S.C |
适用机号SERIAL NO |
互换性 IA |
替换零件 REPLACEABLE PART |
|
|
零件代号Part No |
数量 Q’TY |
||||||||
|
1 2 3 4 5 6 7 8 9 10 11 12 13 14 15 |
803109833 819908831 803007193 803110417 310401431 805046553 805338261 310401438 803172900 310401432 803173048 310401433 805046551 310400253 310401434 |
堵头 功能螺母 内螺纹二通球阀接头 钢管 螺栓 M12×55 垫圈 12 管夹 软管总成 钢管 软管总成 钢管(左) 钢管总成(黄色)管夹 钢管(右) |
Plug Mut Valve Adapter Steel Tube Bolt Washer Pipe Clip Hose Assembly Steel Tube Hose Assembly Steel Tube 螺栓 M12×50 Pipe Clip Steel Tube |
2 2 2 2 2 20 22 10 2 2 2 1 2 2 2 |
310401557 破碎锤管路 Breaker Piping


310401557 破碎锤管路 Breaker Piping
|
序号 ITEM |
零件代号 Part No |
零件名 |
PART NAME |
数 量 |
服务 代码 |
适用机 号SERIAL |
互 换 |
替换零件 REPLACEABLE |
|
Q’T Y |
S.C |
NO |
性 IA |
PART |
|||||
|
零件代号Part No |
数量 Q’TY |
||||||||
| 1 |
803172183 |
软管总成 |
Hose Assembly |
1 |
|||||
| 2 |
803163572 |
接头 |
Adapter |
4 |
|||||
| 3 |
803172161 |
接头 |
Adapter |
5 |
|||||
| 4 |
803007191 |
破碎先导阀 |
Pilot Valve |
1 |
|||||
| 5 |
805338260 |
垫圈 10 |
Washer |
2 |
|||||
| 6 |
805046462 |
螺栓 M10×25 |
Bolt |
2 |
|||||
| 7 |
803172473 |
软管总成 |
Hose Assembly |
1 |
|||||
| 8 |
803172174 |
接头 |
Adapter |
1 |
|||||
| 9 |
803173056 |
软管总成 |
Hose Assembly |
1 |
|||||
| 10 |
803163582 |
接头 |
Adapter |
1 |
|||||
| 11 |
803172458 |
接头 |
Adapter |
1 |
|||||
| 12 |
803173057 |
软管总成 |
Hose Assembly |
1 |
|||||
| 13 |
803172381 |
软管总成 |
Hose Assembly |
1 |
|||||
| 14 |
803172316 |
接头 |
Adapter |
2 |
|||||
| 15 |
803172350 |
软管总成 |
Hose Assembly |
1 |
|||||

|
序号 ITEM |
零件代号 Part No |
零件名 |
PART NAME |
数量 Q’TY |
服务代码 S.C |
适用机号 SERIAL NO |
互换性 IA |
替换零件 REPLACEABLE PART |
|
|
零件代号 Part No |
数量 Q‘TY |
||||||||
| 1 |
310400306 |
斗杆安全标志 |
Safety-Sign For |
2 |
|||||
|
Arm |
|||||||||
| 2 |
310400316 |
公司标识 |
Name-Plate Of |
2 |
|||||
|
Company |
|||||||||
| 3 |
310400317 |
安全标志 |
Safety-Sign |
1 |
|||||
| 4 |
310400308 |
前进标志 |
Advance-Sign |
2 |
|||||
| 5 |
801902626 |
起吊标志 |
Jump-start Sign |
4 |
|||||
| 6 |
310400327 |
安全标志 |
Safety-Sign |
2 |
|||||
| 7 |
310400323 |
XE85 标志 |
Sign Of |
2 |
|||||
|
Machine:XE75 |
|||||||||
| 8 |
801905689 |
安全标志 |
Safety-Sign |
1 |
|||||
| 9 |
310400330 |
安全标志 |
Safety-Sign |
1 |
|||||
| 10 |
819908825 |
安全标志 |
Safety-Sign |
2 |
|||||
| 11 |
310400314 |
公司标识 |
Name-Plate Of |
1 |
|||||
|
Company |
|||||||||
| 12 |
310400315 |
反射器标识 |
Reflector Sign |
2 |
|||||
| 13 |
310400329 |
安全标志 |
Safety-Sign |
1 |
|||||
| 14 |
819908824 |
安全标志 |
Safety-Sign |
1 |
|||||

|
序号 ITEM |
零件代号 Part No |
零件名 |
PART NAME |
数量 Q’TY |
服务代码 S.C |
适用机号 SERIAL NO |
互换性 IA |
替换零件 REPLACEABLE PART |
|
|
零件代号 Part No |
数量 Q‘TY |
||||||||
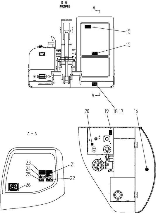
| 15 |
310400307 |
逃生安全标志 |
Safety Sign Of |
2 |
|||||
|
Emergency |
|||||||||
|
Hammer |
|||||||||
| 16 |
310400320 |
禁踏安全标志 |
Safety Sign For |
1 |
|||||
|
Step |
|||||||||
| 17 |
310600637 |
XE85 产品名铭牌 |
Name Plate Of |
1 |
|||||
|
Machine:XE85 |
|||||||||
| 18 |
805502139 |
铆钉 3 X 8 |
Rivet |
4 |
|||||
| 19 |
310400328 |
安全标志 |
Safety Sign |
1 |
|||||
| 20 |
239900136 |
柴油标志 |
Diesel oil Sign |
1 |
|||||
| 21 |
310400332 |
安全标志 |
Safety Sign |
1 |
|||||
| 22 |
310400311 |
防止触电安全标志 |
Safety Sign Of |
1 |
|||||
|
Caution |
|||||||||
|
Form Electric |
|||||||||
|
Shook) |
|||||||||
| 23 |
310400331 |
安全标志 |
Safety Sign |
1 |
|||||
| 24 |
819906137 |
安全标志 |
Safety Sign |
1 |
|||||
| 25 |
310400312 |
操作标志 |
Sign of Lever |
1 |
|||||
|
Pattern |
|||||||||
| 26 |
310400313 |
润滑保养标牌 |
Sign of Lubricate |
1 |
|||||
|
Maintain |
|||||||||
