SINOMACH CHANGLIN ZL30H wheel loader parts catalog 10
|
31 |
Z30.6E.1-9 |
1 |
半轴齿轮垫 |
Washer |
2 |
||
|
32 |
Z30.6E.1-6 |
1 |
半轴齿轮 |
Side gear |
2 |
||
|
33 |
Z30.6E.1-3 |
1 |
十字轴 |
Spider |
1 |
||
|
34 |
Z30.6E.1-2 |
1 |
差速器壳体 |
Case |
1 |
||
|
35 |
Z30.6.1-1L |
1 |
从动螺伞齿轮 |
Gear bevel |
1 |
||
|
36 |
Z30.6.1-13 |
1 |
螺栓 |
Bolt |
12 |
||
|
38 |
Z30.6E.1-5 |
1 |
锥齿轮 |
Pinion |
4 |
||
|
39 |
Z30.6E.1-10 |
1 |
锥齿轮垫板 |
Washer |
4 |
||
|
40 |
Z30.6.1-14 |
1 |
垫 |
Gasket |
1 |
Z30.6.3B 制动器总成 Brake Ass’y

Z30.6.3B 制动器总成 Brake Ass’y
|
序号 No. |
零 Part No. |
版本 Ver. |
名 Part Name |
数量 Q’ty |
适用车号 Suit Num. |
选装 Cho |
|
|
1 |
Z30.6.3B-8 |
1 |
副钳桥 |
Auxiliary pincers |
4 |
||
|
2 |
Z30.6.3B-1 |
1 |
密封圈 |
Seal ring |
16 |
||
|
3 |
B-Q020710-00028 |
1 |
O形圈20×2.4 |
O-ring |
8 |
||
|
4 |
Z30.6.3B-2 |
1 |
活塞 |
Piston |
16 |
||
|
5 |
Z30.6.3B-11 |
1 |
卡箍 |
Hoop |
16 |
||
|
6 |
Z30.6.3B-4 |
1 |
防尘罩 |
Dust hood |
16 |
||
|
7 |
Z30.6.3.2 |
1 |
衬块总成 |
Filler block ass’y |
8 |
||
|
8 |
B-G008180-00032 |
1 |
螺钉M6×8ZnD |
Screw |
16 |
||
|
9 |
Z30.6.3-6 |
1 |
盖板 |
Covet |
4 |
||
|
10 |
Z30.6.3B-5 |
1 |
主钳桥 |
Main pincers |
4 |
||
|
11 |
Z30.6.3B-10 |
1 |
放气螺钉 |
Screw |
8 |
||
|
12 |
Z50F.6-36 |
1 |
放气阀盖 |
Valve stem |
8 |
||
|
13 |
Z30.6.3-9 |
1 |
销轴 |
Pin |
8 |
||
|
14 |
B-G000910-00018 |
1 |
开口销2×16ZnD |
Cotter pin |
8 |
||
|
15 |
Z30.6.3-7 |
1 |
螺栓 |
Bolt |
16 |
||
Z30E.7 后传动轴 Rear Drive Shaft

Z30E.7 后传动轴 Rear Drive Shaft
|
序号 No. |
零 Part No. |
版本 Ver. |
名 Part Name |
数量 Q’ty |
适用车号 Suit Num. |
选装 Cho |
|
|
1 |
Z30B.2 |
1 |
突缘叉 |
Fork |
1 |
||
|
2 |
W-04-00012 |
1 |
十字轴总成 |
Cross axle ass’y |
2 |
||
|
3 |
B-J07940B-00001 |
1 |
450 油杯M10×1 |
Grease cup |
3 |
||
|
4 |
Z30.7B-2 |
1 |
万向节叉 |
Fork |
2 |
||
|
5 |
Z30E.7-1 |
1 |
套 |
Sleeve |
1 |
||
|
6 |
Z30.7B-1 |
1 |
套管叉 |
Fork |
1 |
||
|
7 |
B-G008890-00005 |
1 |
螺母M14×1.5 ZnD |
Nut |
4 |
||
|
8 |
B-G000930-00005 |
1 |
垫圈14 |
Washer |
4 |
||
|
9 |
B-G057860-00019 |
1 |
螺栓M14×1.5×45 ZnD |
Bolt |
4 |
||
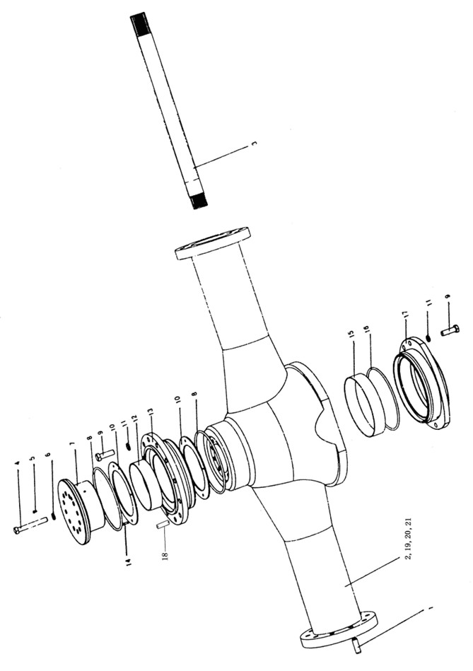
Z30H.8B 后 桥(Ⅰ) Rear Axle(Ⅰ)

Z30H.8B 后 桥(Ⅰ) Rear Axle (Ⅰ)
|
序号 No. |
零 Part No. |
版本 Ver. |
名 Part Name |
数量 Q’ty |
适用车号 Suit Num. |
选装 Cho |
|
|
1 |
B-G001190-00008 |
1 |
销A16×50 |
Pin |
2 |
||
|
2 |
Z30.8-1 |
1 |
后桥壳 |
Rear axle Case |
1 |
||
|
3 |
Z30.6E-2 |
1 |
半轴 |
Side shaft |
2 |
||
|
4 |
B-G057820-00060 |
1 |
螺栓M14×100ZnD |
Bolt |
10 |
||
|
5 |
B-J07940A-00001 |
1 |
油杯M10×1 |
Grease fitting |
1 |
||
|
6 |
B-G000930-00005 |
1 |
垫圈14 |
Washer |
10 |
||
|
7 |
Z30.8-7 |
1 |
法兰 |
Flange |
1 |
||
|
8 |
B-Q020710-00034 |
1 |
O形圈220×5.7 |
O-ring |
2 |
||
|
9 |
B-G057830-00076 |
1 |
螺栓M16×45ZnD |
Bolt |
20 |
||
|
10 |
Z30.8-5 |
1 |
铜片 |
Copper washer |
4 |
||
|
11 |
B-G000930-00006 |
1 |
垫圈16 |
Washer |
20 |
||
|
12 |
Z30.8-4B |
1 |
衬套 |
Sleeve |
1 |
||
|
13 |
Z30.8-6 |
1 |
后支撑环 |
Rear-back-up ring |
1 |
||
|
14 |
B-G001190-00021 |
1 |
销A8×45 |
Pin |
2 |
||
|
15 |
Z30.8-3B |
1 |
衬套 |
Sleeve |
1 |
||
|
16 |
B-Q020710-00035 |
1 |
O形圈230×5.7 |
O-ring |
2 |
||
|
17 |
Z30.8-2 |
1 |
前支撑环 |
Front-back-up ring |
1 |
||
|
18 |
B-G001190-00007 |
1 |
销A16×32 |
Pin |
1 |
||
|
19 |
W-03-00023 |
1 |
透气塞|NJ-130 |
Vent-plug |
1 |
||
|
20 |
Z30H.8.1-1 |
1 |
标牌 |
Name plate |
1 |
||
|
21 |
B-G008270-00004 |
1 |
铆钉2×5 |
Pin |
4 |
||
