SINOMACH CHANGLIN ZL60H wheel loader parts catalog 07
Z60H.10.5/8 右/左转向油缸 Steering Cylinder

Z60H.10.5/8 右/左转向油缸 Steering Cylinder
|
序号 No. |
零 件 代 号 Part No. |
名 称 Part Name |
数量 Q’ty |
|
|
1 |
B-G00893A-00014 |
孔用弹性挡圈75 |
Snap ring |
2 |
|
2 |
B-G091630-00004 |
关节轴承GE50ES |
Joint bearing |
1 |
|
3 |
Z60F.10.17.2 |
活塞杆 |
Pistion rod |
1 |
|
4 |
防尘圈50 (HA3300500-01-100) |
Dust ring |
1 |
|
|
5 |
B-Q020710-00075 |
O形圈55×3.1 |
O-ring |
1 |
|
6 |
密封圈50(HS2310500-04-200) |
Seal ring |
2 |
|
|
7 |
Z60F.10.17-4 |
导向套 |
Guide sleeve |
1 |
|
8 |
B-Q020710-00001 |
O形圈100×5.7 |
O-ring |
2 |
|
9 |
Z30.14.28-8 |
卡键 |
Block key |
1 |
|
10 |
Z30.14.28-9 |
挡圈 |
Snap ring |
1 |
|
11 |
B-G00894A-00025 |
轴用弹性挡圈90 |
Snap ring |
1 |
|
12 |
B-G000910-00060 |
开口销6.3×65 |
Cotter pin |
1 |
|
13 |
B-Q020710-00061 |
O形圈40×3.1 |
O-ring |
1 |
|
14 |
Z60F.10.17-2 |
活塞 |
Pistion |
1 |
|
15 |
格莱圈100( HK1501000-04-55N) |
Seal ring |
2 |
|
|
16 |
Z60F.10.17-3 |
支承环 |
Support ring |
1 |
|
17 |
B-G061780-00009 |
开槽六角螺母M36×2 |
Nut |
1 |
|
18 |
Z60F.10.17.1 |
缸体 |
Cylinder body |
1 |
|
19 |
Z60F.10.17-1 |
衬套 |
Bushing |
1 |
|
|
||||
Z60F.11 紧急制动系统 Emergency Brake System

Z60F.11 紧急制动系统 Emergency Brake System
|
序号 No. |
零 件 代 号 Part No. |
名 称 Part Name |
数量 Q’ty |
|
|
1 |
W-18-00015 |
手控制动阀QZ50-3526002 |
Control valve |
1 |
|
2 |
Z60F.11-3 |
堵头 |
Stopper |
1 |
|
3 |
Z60F.11-2 |
直角接头 |
Joint |
1 |
|
4 |
B-Q020710-00098 |
O形圈 8×1.9 |
O-Ring |
5 |
|
5 |
W-13-00004 |
气管DH/G12X1.25 L=1200 |
Air pipe |
1 |
|
6 |
B-G061700-00014 |
螺母M16ZnD |
Nut |
2 |
|
7 |
B-G00097B-00008 |
垫圈16 ZnD |
Washer |
2 |
|
8 |
B-G000930-00006 |
垫圈16 |
Washer |
2 |
|
9 |
W-11-00004 |
报警灯开关SH361 |
switch |
4 |
|
10 |
B-J010020-00002 |
垫圈12 |
Washer |
2 |
|
11 |
Z60F.11-1 |
三通接头 |
Tee joint |
1 |
|
12 |
W-18-00026 |
驻车制动气室QZ50A-3507001 |
chamber |
1 |
|
13 |
Z60F.11-4 |
直角接头 |
Joint |
1 |
|
14 |
W-13-00003 |
气管DH/G12X1.25 L=1000 |
Air pipe |
1 |
|
15 |
B-G057830-00096 |
螺栓M20×45 ZnD |
Bolt |
2 |
|
16 17 18 19 20 21
|
B-G00097B-00010 B-G000930-00008 Z60F.11.1 Z60F.9.13.1 Z60F.9.13-2 B-J010020-00005 |
垫圈20ZnD 垫圈20 支架 直角接头 接头 垫圈18 |
Washer Washer Bracket Joint Joint Washer |
2 2 1 1 1 1
|
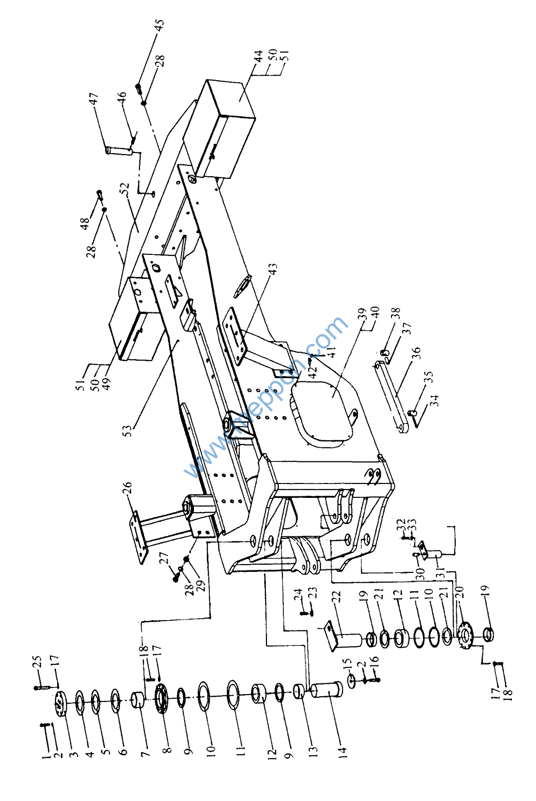
Z60H.12 车
架 (一) Frame (1)

Z60H.12 车
架 (一) Frame (1)
|
序号 No. |
零 Part No. |
名
Part Name |
数量 Q‘ty |
|
|
1 |
Z60F.13.12 |
销轴 |
Shaft |
1 |
|
2 |
B-G057830-00093 |
螺栓M20×35ZnD |
Bolt |
3 |
|
3 |
B-G057830-00028 |
螺栓M12×20 |
Bolt |
4 |
|
4 |
B-G000930-00003 |
垫圈12 |
Washer |
4 |
|
5 |
Z60F.12.11 |
前盖板 |
Front cover |
1 |
|
6 |
Z60F.13.14 |
销轴 |
Shaft |
2 |
|
7 |
B-J07940B-00001 |
油杯45° M10×1 |
Grease fitting |
3 |
|
8 |
B-Q01201F-00042 |
铰销组件50×140A |
Hinge pin ass‘y |
2 |
|
9 |
B-G057830-00027 |
螺栓M12×20-10.9ZnD |
Bolt |
2 |
|
10 |
B-Q01201E-00002 |
垫圈12 |
Washer |
2 |
|
11 |
Z60F.12.10 |
板 |
Plate |
1 |
|
12 |
B-G000930-00005 |
垫圈14 |
Washer |
2 |
|
13 |
B-G057830-00057 |
螺栓M14×35ZnD |
Bolt |
2 |
|
14 |
Z60H.12.1 |
前车架 |
Front frame |
1 |
|
|
||||
Z60H.12 车
架 (二) Frame (2)

