SINOMACH CHANGLIN ZL60H wheel loader parts catalog 08
|
|
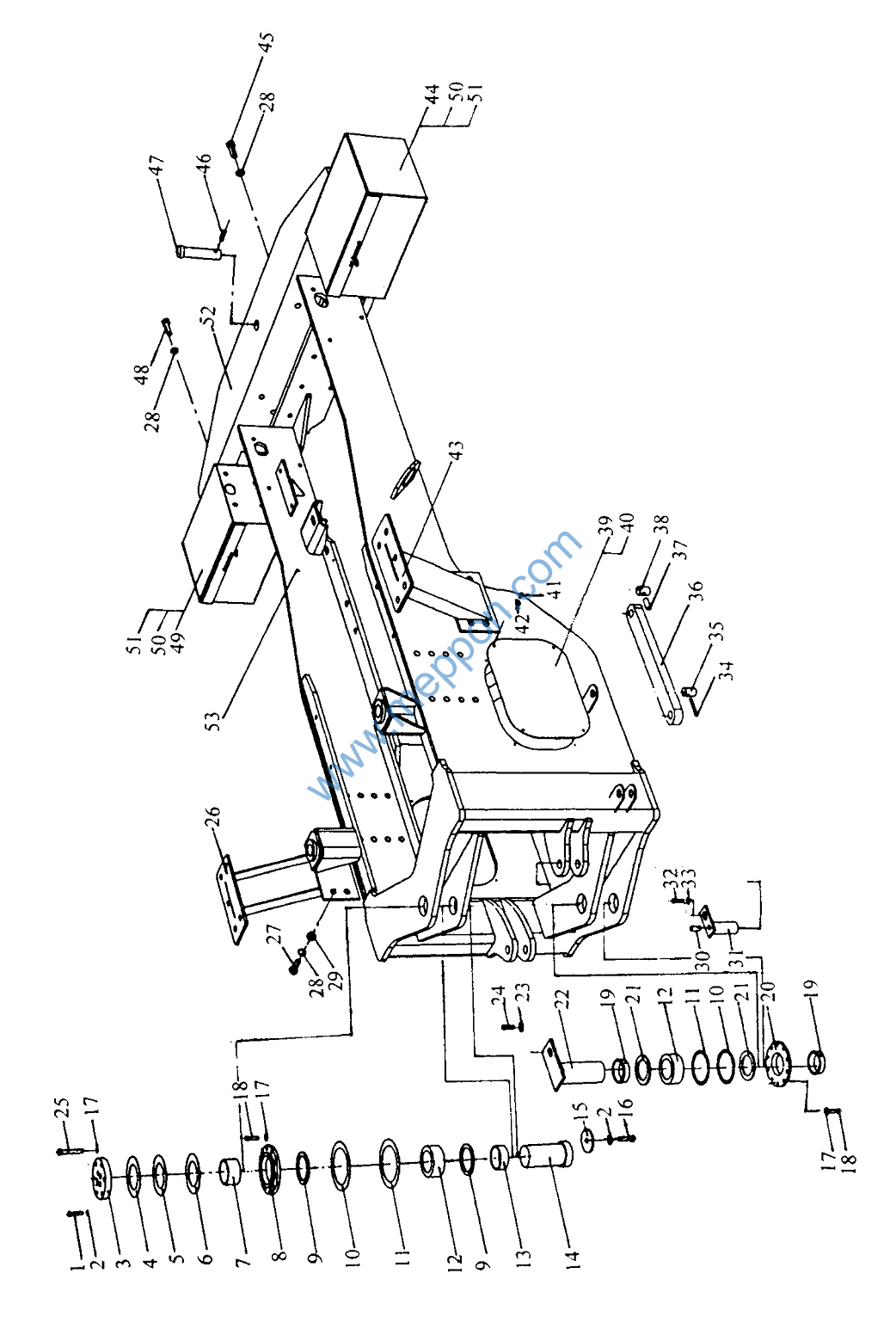
Z60H.12 车
架 (二) Frame (2)

Z60H.12 车
架 (二) Frame (2)
|
序号 No. |
零 Part No. |
名
Part Name |
数量 Q‘ty |
|
|
1 |
B-G057820-00096 |
螺栓M16×95-10.9ZnD |
Bolt |
4 |
|
2 |
B-Q020490-00007 |
垫圈16 |
Washer |
5 |
|
3 |
Z60F.12-2 |
盖 |
Cover |
1 |
|
4 |
Z60F.12-4 |
调整垫片 |
Pad |
10 |
|
5 |
Z6OF.12-5 |
调整垫片 |
Pad |
2 |
|
6 |
Z60F.12-6 |
调整垫片 |
Pad |
4 |
|
7 |
Z60F.12-3 |
隔套 |
Apace sleeve |
1 |
|
8 |
Z60F.12-9 |
轴承盖 |
Cover |
1 |
|
9 |
B-G10708C-00002 |
防尘圈FB100x115x9 |
Dust ring |
2 |
|
10 |
Z60F.12-7 |
调整垫片 |
Pad |
20 |
|
11 |
Z60F.12-8 |
调整垫片 |
Pad |
20 |
|
12 |
B-G091630-00008 |
轴承GE90ES |
Bearing |
2 |
|
13 |
Z60F.12-12 |
隔套 |
Apace sleeve |
1 |
|
14 |
Z60F.12-11 |
上铰接销轴 |
Hinge pin |
1 |
|
15 |
Z60F.12-10 |
挡圈 |
Snap ring |
1 |
|
16 |
B-G057830-00067 |
螺栓M16×30-10.9ZnD |
Bolt |
|
|
17 |
B-Q020490-00003 |
垫圈12 |
Washer |
26 |
|
18 |
B-G057830-00040 |
螺栓M12×40-10.9ZnD |
Bolt |
20 |
|
19 |
Z60F.12-13 |
衬套 |
Bushing |
2 |
|
20 |
Z60F.12-14 |
轴承盖 |
Cover |
1 |
|
21 |
B-G10708C-00007 |
防尘圈FB90×100×7 |
Dust ring |
2 |
|
22 |
B-Q01201F-00034 |
铰销组件90×224B |
Hinge pin ass‘y |
1 |
|
23 |
B-Q01201E-00004 |
垫圈16 |
Washer |
1 |
|
24 |
B-G057830-00065 |
螺栓M16×25-10.9ZnD |
Bolt |
1 |
|
25 |
B-G057820-00040 |
螺栓M12×50-10.9ZnD |
Bolt |
6 |
|
26 |
Z60H.12.10 |
右支架 |
Right surpport |
1 |
|
27 |
B-G057820-00153 |
螺栓M24×90-10.9ZnD |
Bolt |
8 |
|
28 |
B-Q020490-00015 |
垫圈24 |
Washer |
14 |
|
29 |
B-G061700-00023 |
螺母M24ZnD |
Nut |
8 |
|
30 |
B-J07940B-00001 |
油杯45°M10×1 |
Grease fitting |
2 |
Z60H.12 车
架 (二) Frame (2)
|
序号 No. |
零 Part No. |
名
Part Name |
数量 Q‘ty |
|
|
31 |
B-Q01201F-00042 |
铰销组件50×140A |
Hinge pin ass‘y |
2 |
|
32 |
B-G057830-00027 |
螺栓M12×20-10.9 ZnD |
Bolt |
2 |
|
33 |
B-Q01201E-00002 |
垫圈12 |
Washer |
2 |
|
34 |
B-G000910-00008 |
销10×60ZnD |
Pin |
1 |
|
35 |
Z50B.12.14 |
销 |
Pin |
1 |
|
36 |
Z60F.12-1 |
车架锁 |
Lock |
1 |
|
37 |
Z50B.12.16 |
保险销 |
Locking pin |
1 |
|
38 |
Z50B.12.15 |
销 |
Pin |
1 |
|
39 |
Z60F.12-15 |
右盖板 |
Right plate |
1 |
|
40 |
Z60F.12-16 |
左盖板 |
Left plate |
1 |
|
41 |
B-G057830-00139 |
螺栓M8×20ZnD |
Bolt |
8 |
|
42 |
B-G00097B-00023 |
垫圈8ZnD |
Washer |
8 |
|
43 |
Z60H.12.9 |
左支架 |
Left support |
1 |
|
44 |
Z60H.12.3 |
右电瓶箱 |
Right battery |
1 |
|
45 |
B-G057820-00141 |
螺栓M24×210-10.9ZnD |
Bolt |
4 |
|
46 |
Z50B.12.17 |
保险销 |
Locking pin |
1 |
|
47 |
Z50B.12-12 |
牵引销 |
Pin |
1 |
|
48 |
B-G057820-00193 |
螺栓M24×390-10.9 ZnD |
Bolt |
2 |
|
49 |
Z60H.12.5 |
左电瓶箱 |
Left battery |
1 |
|
50 |
B-Q020490-00011 |
垫圈20 |
Washer |
6 |
|
51 |
B-G057830-00101 |
螺栓M20×60ZnD |
Bolt |
6 |
|
52 |
Z60H.12.4 |
配重 |
Balance weight |
1 |
|
53 |
Z60H.12.2 |
后车架 |
Rear frame |
1 |
Z60F.13(.31.G0) 工作装置 Working Equipment

Z60F.13(.31.G0) 工作装置 Working Equipment
|
序号 No. |
零 Part No. |
名
Part Name |
数量 Q‘ty |
|
|
1 |
Z60F.13-4 |
螺栓 |
Bolt |
25 |
|
2 |
Z60F.13-8 |
右边齿 |
Right tooth |
1 |
|
3 |
Z60F.13-2 |
螺栓 |
Bolt |
2 |
|
4 |
Z60F.13-3 |
螺母 |
Nut |
25 |
|
5 |
Z60F.13-7 |
垫片 |
Pad |
4 |
|
6 |
B-Q020490-00013 |
垫圈 22 |
Washer |
2 |
|
7 |
B-Q020420-00001 |
螺母 M22 |
Nut |
2 |
|
8 |
Z60F.13-5 |
中间齿 |
Medium tooth |
7 |
|
9 |
Z60F.13-6 |
垫片 |
Pad |
14 |
|
10 |
Z60F.13-1 |
左边齿 |
Left tooth |
1 |
|
11 |
Z60F.13.1 |
铲斗 |
Bucket |
1 |
|
12 |
Z60F.13.1-18 |
螺栓 |
Bolt |
4 |
|
13 |
Z60F.13.1-17 |
耐磨板 |
Plate |
2 |
|
14 |
B-Q020490-00015 |
垫圈 24 |
Washer |
4 |
|
15 |
B-G000930-00010 |
垫圈 24 |
Washer |
4 |
|
16 |
B-G061700-00021 |
螺母 M24ZnD |
Nut |
4 |
|
17 |
Z60F.13-10 |
外防尘圈 |
Outer dust ring |
8 |
|
18 |
Z60F.13.2.3 |
内防尘圈 |
Inner dust ring |
8 |
|
19 |
Z60F.13.3.1 |
拉杆 |
Linkage |
1 |
|
20 |
Z60F.13.3-1 |
轴套 |
Bushing |
2 |
|
21 |
Z60F.13.7 |
销轴 |
Shaft |
1 |
|
22 |
B-J07940A-00001 |
黄油嘴M10×1 |
Grease fitting |
10 |
|
23 |
Z60F.13.6 |
销轴 |
Shaft |
1 |
|
24 |
Z60F.13-9 |
垫圈 |
Washer |
10 |
|
25 |
B-G057830-00068 |
螺栓 M16×30ZnD |
Bolt |
|
|
26 |
Z60F.13.4.1 |
摇臂 |
Rocker arm |
1 |
|
27 |
Z60F.13-11 |
垫片 |
Pad |
8 |
|
28 |
Z60F.13.2-3 |
轴套 |
Bushing |
2 |
|
29 |
Z60F.13.5 |
销轴 |
Shaft |
2 |
|
30 |
Z60F.13.4-1 |
轴套 |
Bushing |
2 |
|
31 |
Z60F.13.4.2 |
内防尘圈 |
Inner dust ring |
2 |
Z60F.13(.31.G0) 工作装置
Working Equipment
|
序号 No. |
零 Part No. |
名
Part Name |
数量 Q‘ty |
|
|
32 |
Z60F.13-13 |
垫片 |
Pad |
2 |
|
33 |
Z60F.13.9 |
销轴 |
Shaft |
1 |
|
34 |
Z60F.13-14 |
垫片 |
Pad |
2 |
|
35 |
Z60F.13.10 |
内防尘圈 |
Inner dust ring |
4 |
|
36 |
Z60F.13.8 |
销轴 |
Shaft |
1 |
|
37 |
Z60F.13.2-2 |
轴套 |
Bushing |
2 |
|
38 |
Z60F.13.2.2 |
内防尘圈 |
Inner dust ring |
8 |
|
39 |
Z60F.13-15 |
垫片 |
Pad |
8 |
|
40 |
Z60F.13.11 |
销轴 |
Shaft |
2 |
|
41 |
Z60F.13.12 |
垫圈 |
Washer |
3 |
|
42 |
B-G057830-00093 |
螺栓M20×35ZnD |
Bolt |
3 |
|
43 |
Z60F.13.2.1 |
动臂 |
Lift arm |
1 |
|
44 |
Z60F.13.2-1 |
轴套 |
Bushing |
2 |
|
45 |
Z60F.13.13 |
销轴 |
Shaft |
2 |
Z60H.14 工作液压系统 Hydraulic System
(二路阀 2-Valve)

