SINOMACH CHANGLIN 719H motor grader parts catalog 35
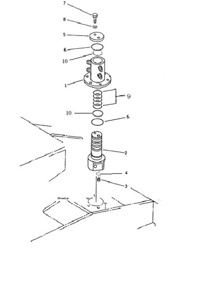
FIG.8281 旋转接头 Swivel Joint

FIG.8281 旋转接头 Swivel Joint
|
序号 No. |
零 件 代 号 Part No. |
版本 Ver. |
名 称 Part Name |
数量 Q’ty |
适用车号 Suit Num. |
选装 Cho. |
|
|
|
190C.19B.37 |
1 |
旋转接头 |
Swivel Joint Ass’Y |
1 |
00005- |
|
|
1 |
.190C.19B.37-2 |
1 |
.阀体 |
.Body |
1 |
00005- |
|
|
2 |
.190C.19B.37-1 |
1 |
.法兰 |
.Flange |
1 |
00005- |
|
|
3 |
.W-15-00690 |
1 |
.堵头 |
.Plug |
4 |
00005- |
|
|
4 |
.B-Q020710-00019 |
1 |
.O形圈15×2.4 |
.O-Ring |
5 |
00005- |
|
|
5 |
.190C.19A.31-2 |
1 |
.板 |
.Plate |
1 |
00005- |
|
|
6 |
.W-15-00689 |
1 |
.水封VA-065 |
.Seal Dust |
2 |
00005- |
|
|
7 |
.B-G057830-00030 |
1 |
.螺栓M12×25 ZnD |
.Bolt |
2 |
00005- |
|
|
8 |
.B-Q020490-00003 |
1 |
.垫圈12 |
.Washer |
2 |
00005- |
|
|
9 |
.W-15-00695 |
1 |
.旋转密封50X61X4.2 |
.Support ring |
5 |
00005- |
|
|
10 |
.W-15-00688 |
1 |
.抗磨环50X54X8 |
.Support ring |
2 |
00005- |
|
FIG.8307 液压管路(动力倾斜)(1/3) Hydraulic Piping(For Power Tilt)(1/3)

FIG.8307 液压管路(动力倾斜)(1/3) Hydraulic Piping(For Power Tilt)(1/3)
|
序号 No. |
零 件 代 号 Part No. |
版本 Ver. |
名 称 Part Name |
数量 Q’ty |
适用车号 Suit Num. |
选装 Cho. |
|
|
1 |
190C.14J.9 |
1 |
油管(O形圈15X2) |
Tube |
1 |
00005- |
|
|
2 |
190C.14J.17 |
1 |
接头体 |
Tube |
1 |
00005- |
|
|
3 |
190C.14J.4 |
1 |
软管总成(O形圈15X2) |
Hose |
1 |
00005- |
|
|
4 |
190C.14J.6 |
1 |
油管(O形圈15X2) |
Tube |
1 |
00005- |
|
|
5 |
190C.14J.8 |
1 |
油管(O形圈20X2) |
Tube |
1 |
00005- |
|
FIG.8309 液压管路(动力倾斜)(2/3) Hydraulic Piping(For Power Tilt)(2/3)

FIG.8309 液压管路(动力倾斜)(2/3) Hydraulic Piping(For Power Tilt)(2/3)
|
序号 No. |
零 件 代 号 Part No. |
版本 Ver. |
名 称 Part Name |
数量 Q’ty |
适用车号 Suit Num. |
选装 Cho. |
|
|
1 |
190C.19B.15 |
1 |
接头体 |
Tube |
2 |
00005- |
|
|
2 |
W-15-00003 |
1 |
O形圈(19.18X2.46) |
O-Ring |
2 |
00005- |
|
|
3 |
190C.19B.32 |
1 |
油管(O形圈10X1.5) |
Tube |
2 |
00005- |
|
|
4 |
190C.19B.43 |
1 |
软管总成(O形圈10X1.5) |
Hose |
2 |
00005- |
|
|
5 |
190C.19B.33 |
1 |
油管(O形圈12X2) |
Tube |
1 |
00005- |
|
|
6 |
190C.19B.34 |
1 |
油管(O形圈12X2) |
Tube |
1 |
00005- |
|
|
7 |
190C.19B.52 |
1 |
接头体 |
Union |
2 |
00005- |
|
|
8 |
B-Q020510-00002 |
1 |
专用O形圈16.7×3.4 |
O-Ring |
2 |
00005- |
|
|
9 |
190C.19B.51 |
1 |
接头体 |
Union |
2 |
00005- |
|
|
10 |
B-Q020510-00002 |
1 |
专用O形圈16.7×3.4 |
O-Ring |
2 |
00005- |
|
|
11 |
B-G057820-00165 |
1 |
螺栓M8×60 ZnD |
Bolt |
2 |
00005- |
|
|
12 |
B-Q020490-00023 |
1 |
垫圈8 |
Washer |
2 |
00005- |
|
