SINOMACH CHANGLIN YZ12HD road roller parts catalog 05
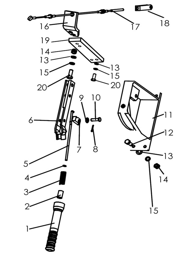
YZ14HD.10 转向系统
поворотная система
|
序号 Номер |
代号 Обозначения |
名称 Наименование |
数量. Кол |
|
|
29 |
YZ14HD.10-1 |
接头 |
Соединитель |
4 |
|
30 |
YZ18F.10.3 |
转向盘组件 |
Узел поворотного руля |
1 |
|
31 |
W-19-00035 |
转向器阀块总成 |
Клапанный блок дефлектора в сборе |
1 |
YZ14.10.4 转向油缸
поворотный цилиндр
YZ14.10.4 转向油缸
поворотный цилиндр
|
序号 Номер |
代号 Обозначения |
名称 Наименование |
数量. Кол |
|
|
1 |
B-G00893A-00010 |
挡圈62 |
упорная |
4 |
|
2 |
B-G091630-00003 |
关节轴承 |
Сочленовный подшипник |
2 |
|
3 |
YZ12.10.4-1 |
活塞杆 |
Поршневой шток |
1 |
|
4 |
B-G00894A-00028 |
挡圈75 |
упорная |
1 |
|
5 |
Z50B.10.12-1 |
挡圈 |
упорная |
1 |
|
6 |
Z50B.10.12-2 |
卡键 |
Законтренная шпонка |
3 |
|
7 |
B-G10708C-00009 |
防尘圈FC45x53x5 |
защищающее от пыли |
1 |
|
8 |
B-Q020710-00072 |
О-型圈 50×3.1 |
O-ОБРАЗНОЕ |
1 |
|
9 |
B-G10708A-00003 |
密封圈数量ьцо45x60x12.5 |
количество уплотнительных колец |
1 |
|
10 |
Z50B.10.12-3 |
导向套 |
Направляющий |
1 |
|
11 |
B-Q020710-00103 |
О-型圈 90×3.1 |
O-ОБРАЗНОЕ |
2 |
|
12 |
W-15-00067 |
格莱圈0900|S-50044 |
Кольцо Гэлай |
2 |
|
13 |
Z50B.10.12-5 |
导向环 |
Направляющее кольцо |
1 |
|
14 |
Z50B.10.12-6 |
活塞 |
Поршень |
1 |
|
15 |
B-Q020710-00053 |
О-型圈 35×3.1 |
O-ОБРАЗНОЕ |
1 |
|
16 |
Z50B.10.12-7 |
卡键 |
Законтренная шпонка |
2 |
|
17 |
Z50B.10.12-8 |
卡键罩 |
Кожух законтренной шпонки |
1 |
|
18 |
B-G00894A-00013 |
挡圈35 |
упорная |
1 |
|
19 |
YZ14HD.10.2.1 |
缸体 |
Цилиндр |
1 |
YZ18F.10.3 转向盘组件
Узел поворотного руля
YZ18F.10.3 转向盘组件
Узел поворотного руля
|
序号 Номер |
代号 Обозначения |
名称 Наименование |
数量. Кол |
|
|
1 |
W-19-00002 |
方向盘(平键)|TCM-2 |
Руль (плоская шпонка) |
1 |
|
2 |
B-G061710-00011 |
螺母 M16x1 |
Гайка |
1 |
|
3 |
B-G000670-00001 |
螺栓M3x4 |
Болт |
1 |
|
4 |
Z30.10.2-3 |
隔套 |
Втулка |
1 |
|
5 |
B-G002760-00003 |
滚动轴承6004 |
Подшипник качания |
1 |
|
6 |
B-G057830-00143 |
螺栓M8x25ZnD |
Болт |
4 |
|
7 |
B-G000930-00017 |
垫圈8 |
Шайба |
4 |
|
8 |
Z30.10.2-1 |
半圆键 |
сегментная шпонка |
1 |
|
9 |
YZ18F.10.3-1 |
转向轴 |
Поворотный |
1 |
|
10 |
Z30.10.2-5 |
垫套 |
Втулка шайбы |
1 |
|
11 |
B-G000930-00001 |
垫圈10 |
Шайба |
4 |
|
12 |
B-G057830-00006 |
螺栓M10x25ZnD |
Болт |
4 |
|
13 |
YZ18F.10.3.1 |
套管座 |
Башмак подрубка |
1 |
|
14 |
Z30.10.2-2 |
铜环 |
Медное кольцо |
1 |
YZ14HD.11 停车制动系统(一)
Тормозная система остановки двигателя(1)

