SHANTUI L55-B5 PARTS CATALOG 05
|
序号 NO. |
部件号 PART NO. |
零件名称 PART NAME |
备注 REMARKS |
数量 QTY |
|
1 2 3 4 5 6 7 8 9 10 11 12 13 14 15 16 17 18 19 20 21 22 23 24 25 26 27 |
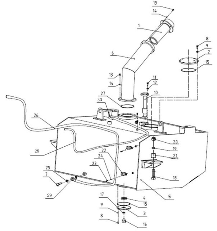
1455-04P-00006 1455-04-00005 1455-60-00001 1455-60-00002 1457-04F-01000 1457-04-01600 1455-04-00004 GB5783-M8X20 GB93-8 D2330-41801 GB818-M5X14 GB93-5 GB5783-M8X20 GB93-8 GB1235-140X3.1 JB1000-M27X2 07303-02735 DB5785-M20X1.5X80-1 GB97.1-20 GB889.2-M20X1.5-1 1457-04-00006 08043-03206 GB5783-M6X20 GB93-6 07303-01420 1455-04B-00001 07000-12085 |
滤网总成 Filter Screen Assembly 法兰盘 Flange disc 清洗口法兰 Disc 磁铁 Magnet 燃油箱体 Fuel tank case 加油管 铰接螺栓 Hollow bolt 螺栓M8X20 Bolt 垫圈8 Spring washer 油位传感器 Oil sensor 螺栓M5X14 Bolt 弹簧垫圈5 Spring washer 螺栓M8X20 Bolt 弹簧垫圈8 Spring washer O型圈140X3.1 O-ring 螺塞M27X2 Screw plug 密封垫27 Sealing ring 螺栓M20X1.5 Bolt 垫圈20 Washer 螺母M20X1.5 Nut 隔套 Spacer sleeve 套管夹 Clip 螺栓M6X20 Bolt 弹簧垫圈6 Spring washer 密封垫圈 Sealing gaske 输油胶管10A-A-2100 Oil hose O型圈90X3.1 |
|
1 1 1 1 1 1 2 12 12 1 5 5 8 8 2 1 1 4 8 4 4 3 3 3 4 2 1 |
第4.1图
燃油箱及管路
FIG.4.1 Fuel Oil Tank And Piping

|
序号 NO. |
部件号 PART NO. |
零件名称 PART NAME |
备注 REMARKS |
数量 QTY |
|
1 2 3 4 5 6 7 8 9 10 11 12 13 14 15 16 17 18 19 20 21 22 23 24 25 26 27 28 29 30 31 |
1455-04P-00006 1455-04-00005 1455-60-00001 1455-60-00002 1457-04F-01000 1457-04-01600 1455-04M-00003 GB5783-M8X20 GB93-8 D2330-41801 GB818-M5X14 GB93-5 GB5783-M8X20 GB93-8 GB1235-140X3.1 JB1000-M27X2 07303-02735 DB5785-M20X1.5X80-1 GB97.1-20 GB889.2-M20X1.5-1 1457-04-00006 08043-03206 GB5783-M6X20 GB93-6 07303-01420 1455-04M-00002 07000-12085 1455-04M-00001 1455-04M-01000 1455-04M-02000 08034-40820 |
滤网总成 Filter Screen Assembly 法兰盘 Flange disc 清洗口法兰 Disc 磁铁 Magnet 燃油箱体 Fuel tank case 加油管 铰接螺栓 Hollow bolt 螺栓M8X20 Bolt 垫圈8 Spring washer 油位传感器 Oil sensor 螺栓M5X14 Bolt 弹簧垫圈5 Spring washer 螺栓M8X20 Bolt 弹簧垫圈8 Spring washer O型圈140X3.1 O-ring 螺塞M27X2 Screw plug 密封垫27 Sealing ring 螺栓M20X1.5 Bolt 垫圈20 Washer 螺母M20X1.5 Nut 隔套 Spacer sleeve 套管夹 Clip 螺栓M6X20 Bolt 弹簧垫圈6 Spring washer 密封垫圈 Sealing gaske 进油管12B-B-1750 Oil hose O型圈90X3.1 回油管8B-B-3000 Oil hose 接头体 Fittings body 接头体 Fittings body 箍 Tie |
康明斯发动机
|
1 1 1 1 1 1 2 12 12 1 5 5 8 8 2 1 1 4 8 4 4 3 3 3 4 1 1 1 1 1 5 |
动力传动系统
POWER TRAIN SYSTEM
