SINOMACH CHANGLIN 719H motor grader parts catalog 21
FIG.4351 刮土板侧倾操纵 Bane Cutting System
|
序号 No. |
零 件 代 号 Part No. |
版本 Ver. |
名 称 Part Name |
数量 Q’ty |
适用车号 Suit Num. |
选装 Cho. |
|
|
1 |
190C.28-3 |
1 |
轴 |
Shaft |
1 |
00005- |
|
|
2 |
190C.28-2 |
1 |
弹簧 |
Spring |
1 |
00005- |
|
|
3 |
B-Q020010-00001 |
1 |
叉口接头8×32 ZnD |
Yoke |
1 |
00005- |
|
|
4 |
B-G008820-00042 |
1 |
销轴B8×26 ZnD |
Pin |
2 |
00005- |
|
|
5 |
190C.15A-17 |
1 |
弹性开口销 |
Pin, Snap |
2 |
00005- |
|
|
6 |
B-G061700-00036 |
1 |
螺母M8 ZnD |
Nut |
1 |
00005- |
|
|
7 |
190C.28.1 |
1 |
支架 |
Bracket |
1 |
00005- |
|
|
8 |
190C.28-5 |
1 |
垫片 |
Shim |
1 |
00005- |
|
|
9 |
190C.28-4 |
1 |
板 |
Plate |
1 |
00005- |
|
|
10 |
B-G057830-00137 |
1 |
螺栓M8×16 ZnD |
Bolt |
4 |
00005- |
|
|
11 |
B-G000930-00017 |
1 |
垫圈8 |
Washer |
4 |
00005- |
|
|
12 |
B-G057820-00181 |
1 |
螺栓M14×45 ZnD |
Bolt |
2 |
00005- |
|
|
13 |
B-G000930-00005 |
1 |
垫圈14 |
Washer |
2 |
00005- |
|
|
14 |
190C.28.2 |
1 |
软轴 |
Cable |
1 |
00005- |
|
|
15 |
190C.28.3 |
1 |
踏板 |
Pedal |
1 |
00005- |
|
|
16 |
W-12-00026 |
1 |
轴套SF-1 2020 |
Bushing |
1 |
00005- |
|
|
17 |
B-G00894A-00009 |
1 |
挡圈20 |
Ping, Snap |
1 |
00005- |
|
|
18 |
190C.15A-15 |
1 |
垫 |
Spacer |
1 |
00005- |
|
|
19 |
B-Q020050-00014 |
1 |
线夹A12×40 |
Clip |
1 |
00005- |
|
|
20 |
B-G057830-00 |
1 |
螺栓M10×16 ZnD |
Bolt |
1 |
00005- |
|
|
21 |
B-G000930-00001 |
1 |
垫圈10 |
Washer |
1 |
00005- |
|
|
22 |
B-G057830-000 |
1 |
螺栓M10×40 ZnD |
Bolt |
1 |
00005- |
|
|
23 |
B-G061700-00003 |
1 |
螺母M10 ZnD |
Nut |
1 |
00005- |
|
|
24 |
B-Q020020-00001 |
1 |
喉箍28 |
Band |
2 |
00005- |
|
|
25 |
190C.28-1 |
1 |
管 |
Tube |
1 |
00005- |
|
50 车架与驾驶室 Frame And Guard
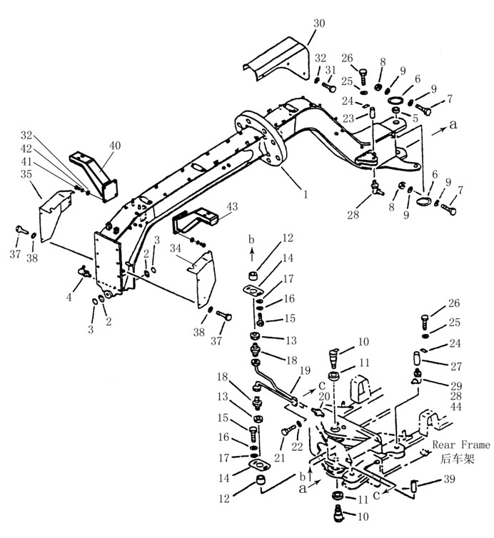
FIG.5001 前车架 Front Frame

FIG.5001 前车架 Front Frame
|
序号 No. |
零 件 代 号 Part No. |
版本 Ver. |
名 称 Part Name |
数量 Q’ty |
适用车号 Suit Num. |
选装 Cho. |
|
|
1 |
190C.12G.1 |
1 |
前车架总成 |
Front Frame |
1 |
00005- |
|
|
2 |
190C.12E-25 |
1 |
垫板 |
Washer |
2 |
00005- |
|
|
3 |
B-Q020710-00002 |
1 |
O形圈φ100×5.7 |
O-Ring |
2 |
00005- |
|
|
4 |
B-J07940B-00001 |
1 |
油杯45°M10×1 |
Grease Fitting |
1 |
00005- |
|
|
5 |
190C.12E-23 |
1 |
轴承套 |
Bushing |
2 |
00005- |
|
|
6 |
190C.12E-20 |
1 |
O形圈 |
O-Ring |
4 |
00005- |
|
|
7 |
190C.12E-19 |
1 |
螺栓 |
Bolt |
4 |
00005- |
|
|
8 |
B-G008890-00011 |
1 |
螺母M6 ZnD |
Nut |
4 |
00005- |
|
|
9 |
B-G00097B-00021 |
1 |
垫圈6 ZnD |
Washer |
8 |
00005- |
|
|
10 |
190C.12E.6 |
1 |
销轴 |
Pin |
2 |
00005- |
|
|
11 |
190C.12E-24 |
1 |
轴套 |
Bushing |
2 |
00005- |
|
|
12 |
190C.12E-22 |
1 |
轴套 |
Bushing |
2 |
00005- |
|
|
13 |
190C.12E-21 |
1 |
螺母 |
Nut |
2 |
00005- |
|
|
14 |
190C.12E-18 |
1 |
板 |
Plate |
2 |
00005- |
|
|
15 |
B-G057830-00068 |
1 |
螺栓M16×30 ZnD |
Bolt |
4 |
00005- |
|
|
16 |
B-Q020490-00007 |
1 |
垫圈16 |
Washer |
4 |
00005- |
|
|
17 |
B-Q020490-00007 |
1 |
垫圈16 |
Washer |
4 |
00005- |
|
|
18 |
190C.12E-27 |
1 |
接头 |
Connector |
2 |
00005- |
|
|
19 |
190C.12E.5 |
1 |
铰接润滑系统 |
Grease Tube |
1 |
00005- |
|
|
20 |
B-J07940A-00001 |
1 |
油杯M10×1 |
Grease Fitting |
2 |
00005- |
|
|
21 |
B-G057830-00037 |
1 |
螺栓M12×35 ZnD |
Bolt |
1 |
00005- |
|
|
22 |
B-Q020490-00003 |
1 |
垫圈12 |
Washer |
1 |
00005- |
|
|
23 |
190C.12E-17 |
1 |
销 |
Pin |
2 |
00005- |
|
|
24 |
190C.12E-26 |
1 |
矩形座 |
Lock |
4 |
00005- |
|
|
25 |
B-Q020490-00003 |
1 |
垫圈12 |
Washer |
8 |
00005- |
|
|
26 |
B-G057830-00030 |
1 |
螺栓M12×25 ZnD |
Bolt |
8 |
00005- |
|
|
27 |
190C.12E-15 |
1 |
左销轴 |
Left Pin |
1 |
00005- |
|
|
190C.12E-16 |
1 |
右销轴 |
Right Pin |
1 |
00005- |
||
|
28 |
B-J07940B-00004 |
1 |
油杯90°M10×1 |
Grease Fitting |
2 |
00005- |
|
|
29 |
B-J07940B-00001 |
1 |
油杯45°M10×1 |
Grease Fitting |
2 |
00005- |
|
|
30 |
190C.12E-5 |
1 |
盖板 |
Cover |
1 |
00005- |
|
|
31 |
B-G057830-00003 |
1 |
螺栓M10×20 ZnD |
Bolt |
6 |
00005- |
|
|
32 |
B-Q020490-00001 |
1 |
垫圈10 |
Washer |
14 |
00005- |
|
|
34 |
190C.12E-3 |
1 |
侧盖板 |
Cover |
1 |
00005- |
|
|
35 |
190C.12E-3R |
1 |
侧盖板 |
Cover |
1 |
00005- |
|
|
37 |
B-G057830-00003 |
1 |
螺栓M10×20 ZnD |
Bolt |
8 |
00005- |
|
|
38 |
B-Q020490-00001 |
1 |
垫圈10 |
Washer |
8 |
00005- |
|
|
39 |
190C.12E.4 |
1 |
销轴 |
Pin |
1 |
00005- |
|
|
40 |
220H.12.2 |
1 |
右前大灯支架 |
Headlight Bracket(R) |
1 |
00005- |
|
|
41 |
B-G057830-00006 |
1 |
螺栓M10x25 ZnD |
Bolt |
8 |
00005- |
|
|
42 |
B-G000930-00001 |
1 |
垫圈10 |
Washer |
8 |
00005- |
|
|
43 |
220H.12.3 |
1 |
左前大灯支架 |
Headlight Bracket(L) |
1 |
00005- |
|
FIG.5003 前车架B Front Frame B

FIG.5003 前车架B Front Frame B
|
序号 No. |
零 件 代 号 Part No. |
版本 Ver. |
名 称 Part Name |
数量 Q’ty |
适用车号 Suit Num. |
选装 Cho. |
|
|
1 |
W-12-00289 |
1 |
球铁壳前配重1000kG |
Weight |
1 |
00005- |
|
|
2 |
B-G061700-00023 |
1 |
螺母M24 ZnD |
Nut |
4 |
00005- |
|
|
3 |
B-Q020490-00015 |
1 |
垫圈24 |
Washer |
4 |
00005- |
|
|
4 |
B-Q020490-00015 |
1 |
垫圈24 |
Washer |
4 |
00005- |
|
|
5 |
B-G057820-00135 |
1 |
螺栓M24×150-10.9 ZnD |
Bolt |
4 |
00005- |
|
|
6 |
190C.12E-6L |
1 |
前盖板 |
Cover |
1 |
00005- |
|
|
7 |
B-Q020490-00001 |
1 |
垫圈10 |
Washer |
4 |
00005- |
|
|
8 |
B-G057830-00003 |
1 |
螺栓M10×20 ZnD |
Bolt |
4 |
00005- |
|
|
9 |
190C.12E-7 |
1 |
阀罩 |
Cover |
1 |
00005- |
|
|
10 |
B-Q020490-00001 |
1 |
垫圈10 |
Washer |
4 |
00005- |
|
|
11 |
B-G057830-00003 |
1 |
螺栓M10×20 ZnD |
Bolt |
4 |
00005- |
|
|
12 |
B-G057830-00001 |
1 |
螺栓M10×16 ZnD |
Bolt |
2 |
00005- |
|
|
13 |
B-Q020490-00001 |
1 |
垫圈10 |
Washer |
2 |
00005- |
|
|
14 |
190C.12E-1L |
1 |
后侧板 |
Cover |
1 |
00005- |
|
|
15 |
220H.12-1 |
1 |
盖板 |
Cover |
1 |
00005- |
|
|
16 |
190C.12E-1 |
1 |
后侧板 |
Cover |
1 |
00005- |
|
|
17 |
190C.12E-7R |
1 |
阀罩 |
Cover |
1 |
00005- |
|
|
18 |
190C.12E-6 |
1 |
前盖板 |
Cover |
1 |
00005- |
|
|
19 |
B-G057830-00006 |
1 |
螺栓M10×25 ZnD |
Bolt |
2 |
00005- |
|
|
20 |
B-Q020490-00001 |
1 |
垫圈10 |
Washer |
2 |
00005- |
|
|
21 |
B-G057830-00003 |
1 |
螺栓M10×20 ZnD |
Bolt |
14 |
00005- |
|
|
22 |
B-Q020490-00001 |
1 |
垫圈10 |
Washer |
14 |
00005- |
|
|
23 |
190C.12E-2 |
1 |
前盖板 |
Cover |
1 |
00005- |
|
